No Drip Internal Mix Flat Fan Pattern Air Atomizing Nozzle

EXAIR's 1/8 FNPT, 1/4 FNPT, and 1/2 FNPT no drip internal mix flat fan pattern atomizing nozzles are designed to efficiently conserve expensive liquids and protect product finishes from drips by stopping liquid flow when compressed air is shut off. Ideal for vertical or horizontal assembly lines, these nozzles offer a broad, thin spray pattern that ensures efficient use of liquids. The output can be adjusted from a very light film to a heavy coat, making them suitable for various applications such as applying paint to hanging sheet metal or using a water mist to cool a laminate web. These nozzles cover a wide flat area, making them perfect for products moving on a conveyor. Constructed from Type 303 stainless steel for corrosion resistance, they are intended for pressure fed applications that do not require separate air and liquid control.

Air Atomizing Spray Nozzle Materials

Type 303 Stainless Steel - All of EXAIR's Liquid Atomizing Nozzles are constructed with Type 303 stainless steel, which can resist high temperatures and corrosive environments. They are designed for environments with a maximum operating temperature of 800°F (426°C).

Accessories

Mounting Brackets: available for 1/8 FNPT, 1/4 FNPT and 1/2 FNPT models. Provides a secure mount for EXAIR's Atomizing Nozzles. Constructed of Type 301 stainless steel.

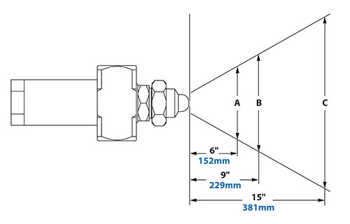
Dimensions & Performance
No Drip Internal Mix Flat Fan Pattern Atomizing Nozzles
(1/8 FNPT Models)
Dimensions - 1/8 FNPT No Drip Internal Mix Flat Fan Pattern Atomizing Nozzle
Liquid Pressure
AF9010SS
AF9020SS
AF9030SS
AF9040SS
10 PSI / 0.7 BAR Air Press PSI 10 14 22 -- 18 22 26 -- 16 18 20 24 12 14 20 --
BAR 0.7 1.0 1.5 -- 1.2 1.5 1.8 -- 1.1 1.2 1.4 1.7 0.8 1.0 1.4 --
Liquid Flow GPH 1.60 1.43 0.93 -- 1.53 1.40 1.00 -- 7.83 7.83 7.50 7.43 11.2 10.3 8.33 --
LPH 6.1 5.4 3.5 -- 5.8 5.3 3.8 -- 29.6 29.6 28.4 28.1 42.3 39.1 31.5 --
Air Flow SCFM 0.71 0.76 1.03 -- 1.04 1.17 1.29 -- 1.42 1.56 1.69 1.82 1.08 1.19 1.51 --
SLPM 20.0 21.6 29.1 -- 29.5 33.2 36.5 -- 40.3 44.1 47.9 51.6 30.5 33.6 42.7 --
20 PSI / 1.4 BAR Air Press PSI 18 26 40 -- 30 36 40 44 28 30 32 36 22 26 34 38
BAR 1.2 1.8 2.8 -- 2.1 2.5 2.8 3.0 1.9 2.1 2.2 2.5 1.5 1.8 2.3 2.6
Liquid Flow GPH 2.13 1.87 1.40 -- 2.30 1.90 1.63 0.85 10.8 10.7 10.3 10.3 14.8 14.3 12.3 11.7
LPH 8.1 7.1 5.3 -- 8.7 7.2 6.2 3.2 41.0 40.4 39.1 39.1 56.2 54.3 46.7 44.2
Air Flow SCFM 1.11 1.44 1.94 -- 2.30 1.90 1.63 0.85 2.00 2.14 2.24 2.49 1.56 1.72 2.15 2.43
SLPM 31.5 40.7 55.0 -- 65.1 53.8 46.2 24.1 56.7 60.4 63.5 70.5 44.1 48.7 60.9 68.7
30 PSI / 2.1 BAR Air Press PSI 28 36 55 -- 42 46 50 -- 38 40 42 46 34 38 48 50
BAR 1.9 2.5 3.8 -- 2.9 3.2 3.4 -- 2.6 2.8 2.9 3.2 2.3 2.6 3.3 3.4
Liquid Flow GPH 2.63 2.20 1.63 -- 2.87 2.60 2.20 -- 13.0 13.0 12.5 12.5 17.8 17.3 15.3 14.8
LPH 10.0 8.3 6.2 -- 10.9 9.8 8.3 -- 49.2 49.2 47.3 47.3 67.5 65.6 58.0 56.2
Air Flow SCFM 1.53 1.94 2.67 -- 2.05 2.20 2.38 -- 2.54 2.67 2.80 2.94 2.15 2.28 2.75 2.88
SLPM 43.4 54.8 75.4 -- 57.9 62.2 67.5 -- 71.8 75.6 79.3 83.1 60.9 64.5 77.9 81.6
40 PSI / 2.8 BAR Air Press PSI 38 46 70 -- 55 65 -- -- 46 50 52 56 46 50 60 70
BAR 2.6 3.2 4.8 -- 3.8 4.5 -- -- 3.2 3.4 3.6 3.9 3.2 3.4 4.1 4.8
Liquid Flow GPH 2.87 2.57 2.07 -- 3.53 2.67 -- -- 14.7 14.2 14.2 13.7 20.3 19.7 18.3 17.0
LPH 10.9 9.7 7.8 -- 13.4 10.1 -- -- 55.5 53.6 53.6 51.7 77.0 74.4 69.4 64.4
Air Flow SCFM 1.95 2.28 3.17 -- 2.56 2.98 -- -- 2.94 3.20 3.28 3.47 2.71 2.92 3.36 3.91
SLPM 55.1 64.7 89.8 -- 72.5 84.4 -- -- 83.1 90.7 92.9 98.2 76.7 82.8 95.0 111
60 PSI / 4.1 BAR Air Press PSI 55 75 100 -- 75 85 -- -- 65 70 75 85 65 75 90 100
BAR 3.8 5.2 6.9 -- 5.2 5.9 -- -- 4.5 4.8 5.2 5.9 4.5 5.2 6.2 6.9
Liquid Flow GPH 3.47 2.93 2.37 -- 4.27 3.67 -- -- 17.0 16.7 16.5 16.2 28.0 26.3 23.3 22.7
LPH 13.1 11.1 9.0 -- 16.2 13.9 -- -- 64.4 63.1 62.5 61.2 106 99.7 88.3 85.8
Air Flow SCFM 2.57 3.42 4.33 -- 3.25 3.69 -- -- 4.00 4.14 4.54 4.76 3.61 4.14 4.80 5.33
SLPM 72.7 96.9 123 -- 91.9 105 -- -- 113 117 128 135 102 117 136 151
No Drip Internal Mix Narrow Angle Round Pattern Air Atomizing Nozzle Models
Part Number Description
AF9010SS No Drip Internal Mix Flat Fan Pattern Atomizing Nozzles, 3.47 GPH/13.12 LPH Max, 1/8 NPT
AF9020SS No Drip Internal Mix Flat Fan Pattern Atomizing Nozzles, 4.27 GPH/16.15 LPH Max, 1/8 NPT
AF9030SS No Drip Internal Mix Flat Fan Pattern Atomizing Nozzles, 17.00 GPH/64.35 LPH Max, 1/8 NPT
AF9040SS No Drip Internal Mix Flat Fan Pattern Atomizing Nozzles, 28.00 GPH/105.99 LPH Max, 1/8 NPT
AF2010SS No Drip Internal Mix Flat Fan Pattern Atomizing Nozzles, 3.2 GPH/12.1 LPH Max, 1/4 NPT
AF2020SS No Drip Internal Mix Flat Fan Pattern Atomizing Nozzles, 4.7 GPH/17.8 LPH Max, 1/4 NPT
AF2030SS No Drip Internal Mix Flat Fan Pattern Atomizing Nozzles, 11.0 GPH/41.6 LPH Max, 1/4 NPT
AF2040SS No Drip Internal Mix Flat Fan Pattern Atomizing Nozzles, 18.3 GPH/69.3 LPH Max, 1/4 NPT
AF2050SS No Drip Internal Mix Flat Fan Pattern Atomizing Nozzles, 42.0 GPH/159 LPH Max, 1/4 NPT
AF6010SS No Drip Internal Mix Flat Fan Pattern Atomizing Nozzles, 46.2 GPH/175 LPH Max, 1/2 NPT
AF6020SS No Drip Internal Mix Flat Fan Pattern Atomizing Nozzles, 231.0 GPH/874 LPH Max, 1/2 NPT
  • Washing
  • Rinsing
  • Coating
  • Cooling
  • Quenching
  • Wetting (moistening)
  • Humidification
  • Dust Control
  • Fully adjustable
  • Maximizes liquid dispersion
  • Minimizes liquid consumption
  • All stainless steel construction
  • Compact
  • Versatile
  • Interchangeable liquid and air caps
  • Minimizes air consumption
  • Fine atomization

Office:

vps_logo

Vivek Pneutech Solutions Pvt. Ltd.

#22, 1st Floor, 1st Cross, Adj. to IIMB Compound, Bilekahalli Indl. Area, Bannerghatta Road, Bangalore, Karnataka,INDIA

Follow Us

Office

Image

Vivek Pneutech Solutions Pvt. Ltd.

#22, 1st Floor, 1st Cross, Adj. to IIMB Compound, Bilekahalli Indl. Area, Bannerghatta Road, Bangalore, Karnataka,INDIA

Follow Us

Image